Til toppen
Produktet er ikke aktivt!

Sylinder 40kgm inkl 2 ansatsnipler

Produktnummer: SL71030

  • Maksimal styrekomfort og sikkerhet
  • Tilbakeslagsventil sørger for at ikke roret vandrer av seg selv
  • Beste løsning sammen med autopilot
  • En eller flere styreposisjoner
  • Robust konstruksjon i syrefast stål og messing
  • Enkel utluftning
  • Leveres med ansatsnippler
  • Godkjent av Det Norske Veritas
  • Spesifikasjoner:
    Volum: 110 ccm
    Maks. rormoment: 40 kgm
    Maks trykk: 50 bar
    slange: 3/8"
    Maks slaglengde: 158

 

 

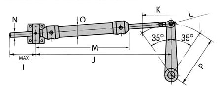
Mål i mm:
L: 12
M: 285
N: 16
O: 38
P: 150